Электропривод RWF10-220(H)
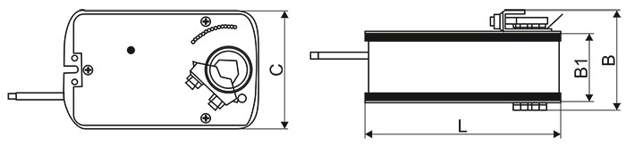
Габаритные размеры

|
Модель |
B |
B1 |
C |
L |
Размер вала (оси), мм |
Масса, кг |
|
RWF10-220(H) |
87,3 |
59 |
100 |
249 |
Ø 8...21 / □ 6х6...15х15 |
<2,3 |
Технические характеристики
|
Модель |
Номинальное напряжение, В |
Крутящий момент, Н·м* |
Площадь заслонки, м²* |
Потребляемая мощность, при вращении/ в состоянии покоя, Вт |
Рабочая температура, °С |
Время срабатывания, с |
Управление |
|
RWF10-220(H) |
220 |
10 |
<1,5 |
5,0/3,0 |
-30...+50 |
<100 (пружина <25) |
2-х позиционное |
* Площадь заслонки указана справочно. При выборе электропривода необходимо учитывать также величину необходимого крутящего момента.
Электрические схемы подключения
